Банная печь металлическая своими руками. Конструкция банной печи своими руками
- Банная печь металлическая своими руками. Конструкция банной печи своими руками
- Банная печь металлическая. Как сделать металлическую печь для бани
- Банная печь металлическая или кирпичная. Печи для бани. Металлическая или кирпичная
- Банная печь металлическая чертежи. Чертежи печи для бани из металла
- Банная печь металлическая обложенная кирпичом. Эффект экранирования железной печки
- Видео металлическая Банная печь своими руками 1ч.
Банная печь металлическая своими руками. Конструкция банной печи своими руками

Банные печи заводского изготовления очень сильно отличаются друг от друга по своей конструкции, не говоря уже о печах, сделанных своими руками. Они могут быть любых форм и изготавливаться из различного материала, например, стальных листов, бочек, труб. Банная печь своими руками может быть изготовлена таким образом: в одном помещении находится топка, а в другом печь.
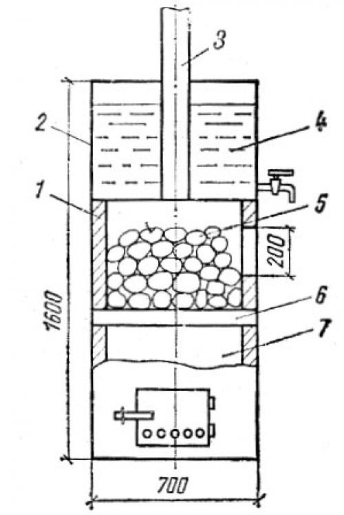
В основном металлические конструкции состоят из топки, каменки и бака с водой .
В топке происходит процесс горения, поэтому делается дверца, через которую будут загружать дрова, и отверстие для воздуха – поддувало. Золу удаляют через специальную решётку – зольник.
От топки раскалённый воздух поступает в каменку, которая наполнена камнями. Чтобы теплообмен был оптимальным, камни укладывают на решётку, соединяющую топку и каменку. Для опрыскивания камней водой, сбоку печки делают специальную дверь . Затем горячий воздух поднимается к баку с водой. Воду в бак заливают через верх, а для его слива внизу бака приваривают кран.
Из чего делаются металлические печи для бани
Необходимые материалы и детали:
- Стальной лист, имеющий толщину 8 мм.
- Труба из металла толщиной 5–10 мм.
- Квадрат 10х10 мм.
- Дверцы для топки, поддувала и каменки.
- Дымоход.
- Колосник.
- Кран для воды.
Необходимые рабочие инструменты:
- болгарка;
- ножницы по металлу;
- аппарат для сварки;
- измерительный инструмент.
Изготовление топки печи для бани из металла

Многие чертежи металлических банных печей своими руками предусматривают использование уже готовых элементов. Это могут быть решётки и дверцы. Выбирают именно эти элементы, потому что изделия из чугуна фиксируют по-другому.
Чтобы изготовить топку, необходима металлическая труба длиной около 2 метров, стенки которой должны иметь толщину в 5–10 мм. Её делят на два отрезка: для топки и каменки (0,9 м) и для бака (0,6 м). Остаток потребуется, чтобы изготовить поддувало и дверцы для топки.
В трубе делается отверстие для поддувала шириной в 0,2 м и высотой в 0,5 м. Затем над ним следует приварить металлическую пластину, на которую укладывают колосник . Приобрести его лучше в магазине.
Изготовление каменки
Дверь печной топки должна иметь размеры 20х25 см. Над ней для каменки приваривают пруты. Так как каменка весит очень много, то приваренные пруты или квадрат должны иметь размер не меньше 10 мм. При этом дверца каменки должна выходить в парилку, а топка должна располагаться напротив входа.
После этого каменку почти до верха наполняют специальными камнями . Это может быть диабаз или талькохлорит. Под запретом камни, содержащие слюду. Она способствует выделению угарного газа, опасного для жизни.
Гранит тоже не желательно класть в каменку из-за его крупных кристаллов, которые под воздействием высоких температур начинают крошиться. Лучше всего использовать камни с мелкими кристаллами небольшого размера.
Над каменкой следует приварить металлическую крышку для дымохода . После этого устанавливают бак с водой, хотя во многих банях он и не требуется.
Изготовление бака для нагрева воды
Чертежи печей из металла своими руками предусматривают, что местоположение водного бака будет над каменкой. Над ней приваривают пластину толщиной 8 мм, в которой для дымохода делают отверстие диаметром 150 мм. Затем к пластине приваривают трубу дымохода и заготовку трубы для бака. Отверстие для трубы делают рядом с задней стенкой конструкции.
Часть бака со стороны дымохода закрывают полукругом, изготовленного из стального листа, в котором делается отверстие для трубы дымохода . которую к нему приваривают. Другая часть бака будет наполняться водой. Для него делают специальную крышку с ручкой.
При создании чертежей железной печки для бани своими руками особое внимание уделяют дымоходу, а конкретно, местам его прохождения через крышу. Это необходимо потому, что при топке труба нагревается очень сильно, и чтобы она не загорелась, её следует изолировать . Чтобы была нормальная тяга, её располагают на определённой высоте.
Банная печь металлическая. Как сделать металлическую печь для бани
Металлических печей для бани в продаже много, но хорошие стоят немалых денег. Если есть достаточный опыт сварки металла, можно изготовить печь самому, по своим размерам. О том, как сделать печь для бани из металла (листового), чертежи и фото — дальше.
Печь из металла для бани и сауны — в чем разница
Между режимами парения в бане и сауне есть существенная разница. В сауне температура воздуха очень высокая — от 85C и намного выше. При такой температуре влажность высокой быть просто не может — сразу получите ожог, а веник осыпется за пять минут. И она действительно небольшая, порядка 5-15%. В русской же парной температура держится в пределах 55-65°C, изредка поднимаясь до 70°C. При таких температурах влажность «нагоняют» большую — 50-60%.

Один из вариантов сварной печи для сауны
Для обеспечения таких разных задач требуются разные подходы для построения печи. В сауну требуется наибольшая площадь соприкосновения корпуса печи с окружающим воздухом и ускорение прохождения воздушных потоков вдоль стенок. Все подчинено задаче как можно скорее нагреть воздух в парилке. Каменка есть, но она небольшая, открытая, находится, как правило, над топкой. Камни в ней прогреваются максимум до 200-250°C, так как много тепла отдают окружающему воздуху. С такой каменки получить можно немного пара. Но в сауне много и не надо — один/два ковшика дадут 15% влажности. Больше просто не вытерпеть.
В русской парной задача другая — не перегреть помещение и добиться большого количества пара. Причем пар должен быть определенной кондиции — он должен состоять из очень мелких капелек. Его еще называют «сухим» и имеет он высокую температуру — порядка 130-150°C. При таком условии после парения в теле ощущается легкость и прилив сил. Такой пар получают только с раскаленных камней, температура которых не менее 500°C. Чтобы достичь ее камни «упаковывают» внутрь топки — в ней размещают ящик — закрытую каменку.

Тут каменка расположена внутри а сверху приделан бак
Как видите, есть солидные конструктивные отличия. Их надо иметь в виду.
Самодельные печи для русской бани
Что еще надо иметь ввиду при конструировании печи для режима русской парной? То, что имея нагретые металлические стенки удержать температуру в пределах требуемых 60-65°C нереально. Обязательно перетопите. При этом от стенок печи идет жесткое ИК излучение и рядом находится тяжело. Проблема решается двумя способами:
- Футеровкой топки. Внутри топка обкладывается жаростойким кирпичом (шамотным на шамотный раствор). Положить его можно на ребро, тогда толщина футеровки 6 см, а можно найти узкий шамот с ребром 3 см. В любом случае металлические стенки греются незначительно, основная энергия направлена на обогрев каменки. В этом случае надо сразу проектировать топку увеличенных размеров, учитывая, что значительный объем ее занят футеровкой. Минус этого варианта — очень высокая температура дыма, а следовательно — высокая пожарная опасность. Выход — отобрать у дыма большую часть энергии. Самый простой вариант — каменка или бак для воды на трубе. Вариант сложнее — отопительный щиток, в который подается дым непосредственно из печи, а остыв в лабиринте щитка, на выходе он имеет не более 80-120°C.

Футеровка — обложить топку изнутри жаропрочным кирпичом
- Кирпичный экран или саркофаг вокруг металлической печи. Экран складывают из обычного керамического кирпича, в стенке делают окошки или устанавливают дверки чтобы была возможность регулировать степень нагрева воздуха в помещении. Как видим, для поддержания температуры в заданном режиме этот вариант более удобен. Но с практической точки зрения он хуже. Дело в том, что за экраном стенки топки перегреваются (конвекции почти нет и они не остывают). В результате, через некоторое время металл перегорает. Выход — ставить жаропрочную сталь или конструкционную, но большой толщины. В данном случае, чем больше будет толщина металла, тем дольше будет служить печь. По статистике самая проблемная зона — верхняя и задняя поверхность топки. Вот тут постарайтесь поставить самый толстый металл, который найдете.

Банная печь металлическая или кирпичная. Печи для бани. Металлическая или кирпичная
Печь для бани всегда является основой, которая диктует направление ее последующую отделку и эксплуатацию. Именно печка определяет, станет ли баня баней.
Поэтому к выбору типа печи следует подходить с особой ответственностью, по возможности максимально оценив все достоинства и недостатки основных материалов производства печей: кирпича и металла.

Как кирпичная, так и металлическая печи отличаются определенными особенностями эксплуатации, имеют преимущества и недостатки. Но перед непосредственным выбором материала печи необходимо определить для себя ряд важных нюансов, которые помогут решить много проблем в будущем:
- определиться с бюджетом строительства бани и границей допустимых финансовых трат;
- определиться с типом парной и ее желаемой влажностью (русская баня или сухая);
- как часто будет эксплуатироваться баня и ожидаемое количество участников банных процедур;
- габариты (объемы) отделения для мытья и парной;
- желаемая температура и срок нагрева парной;
- определиться с доступным местом под печь, поскольку для установки кирпичной печи понадобится больше места, чем для металлической.

К важным нюансам выбора металлических моделей печей для бани можно отнести следующие моменты:
- Небольшие размеры, незначительный вес по сравнению с кирпичным аналогом, отсутствие необходимости подготовки специального фундамента.
- Быстрое остывание, необходимость постоянно поддерживать горение в топке.
- Быстрый прогрев парного помещения.
- Требуется выполнить дополнительные работы по защите стен от воздействия повышенных температур, поскольку тонкие металлические стенки печки довольно быстро и сильно раскаляются.
- Помещается в самые компактные помещения.
- Проста в установке.

При выборе кирпичной печи рекомендуется учесть следующие факторы:
- Продолжительное время сохраняет тепло, даже после полного расхода топлива.
- Способность прогревать большие объемы воздуха.
- Крупные размеры печи обуславливают необходимость подготовки специального фундамента.
- Поверхность достаточно пожаробезопасная и поэтому раскаляется меньше.
- Требуется сравнительно длительный предварительный прогрев парной (3-5 часов).
- Требуется квалифицированный специалист для устройства печи, выполнения кирпичной кладки и пусковых работ.
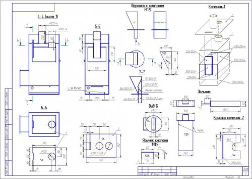
Банная печь металлическая чертежи. Чертежи печи для бани из металла
Что самое главное в бане — конечно же печь. Существует множество готовых решений печей, которые можно купить в магазине, но в этой статье мы рассмотрим чертежи для самостоятельного изготовления печей из металла.

Печь для бани из металла своими руками
Этапы изготовления
Чертежей печи для бани достаточно много и каждый из них имеет свою функциональность. Начнем с топки для печи.
- Топка — первое что нужно сделать. Размеры топки вы определяете самостоятельно, исходя из размеров вашей парной.
Главное помнить, что ширина и высота топки должны быть одинаковы. - На некоторых чертежах печей из металла вы можете увидеть готовые решения, которые можно купить в магазине ,а не вырезать и варить самостоятельно. Например, дверцы, решетки, ручки и так далее. Вы сэкономите массу времени, если приобретете их в магазине.
- Почти на всех чертежах топка состоит из 2 частей. В одной части горят дрова, а другая предназначена для сбора золы и также выполняет функцию поддувала.
- Если на верхнюю часть топки будут ложиться камни, то ее следует сделать из решетки. Можно сделать декоративную решетку для красоты.

Важно! Если Вы решили сварить печь для бани самостоятельно — отнеситесь с особым вниманием к толщине металла. Металл должен быть не менее 5 мм, чтобы при нагревании его не повело.

Подробный чертеж печи для бани из металла
Бак для воды и место для камней
- Сразу над топкой делается емкость для засыпки камней.
- На некоторых чертежах емкость является открытой и вода поливается на камни сверху.
- На других чертежах печей можно встретить емкость для камней с дверцей, которую необходимо открывать для полива воды на камни. Так камни быстрее прогреваются в закрытой емкости и дольше сохраняют тепло.
- В каменке используются специальные камни для бани. Можно конечно использовать обычные речные, но эффект будет не тот.
- Над каменкой устанавливается бак с водой. Через него также должна проходить труба, которая будет подогревать воду.
- В бак с водой можно вмонтировать кран для набора горячей воды.
Также не забудьте про то, что через каменку должен проходить дымоход.

Печь с открытой каменкой

Чертеж печи из металла с каменкой и баком для воды
Трубу также необходимо изготавливать из трубы с большой толщиной металла. Так она не сразу прогорит и будет служить вам долго.

Печь для бани с трубой, проходящей через каменку и водяной бак
Дымоход
Также на чертеже печи для бани необходимо указать место, где дымоход будет проходить через крышу. Это место необходимо тщательно изолировать, так как воздух, проходящий через трубу очень горячий.

Дымоход для бани
Для изоляции дымохода от крыши лучше приобрести готовые решения, которые продаются в специализированных магазинах для бани.
Таким образом сделать печь для бани по чертежам самому не так уж и сложно. К тому же в магазинах продается много готовых решений (решетки, дверцы, баки, трубы, дымоходы, изоляция дымохода), применяя которые соорудить печь будет еще проще.
Банная печь металлическая обложенная кирпичом. Эффект экранирования железной печки
Засыпной экран зачастую рекламируется, как наиболее удобный и безопасный для использования в домашних банях. Большинство доморощенных специалистов считает, что отделка стен и железной печи бутом или колотым базальтом лучше всего обеспечивает теплоотдачу в воздух и одновременно снижает температуру поверхности каменки. В реальности железная печь после обкладки колотым базальтом или кварцитом выдает очень сильный жар в непосредственной близости к печке, тогда как на удалении до полутора метров воздух в парилке прогревается недостаточно хорошо.
Обкладка печи в бане кирпичом дает несколько отличный эффект:
- Между железной стенкой корпуса и обкладкой из кирпича обустраивается тепловой зазор в несколько сантиметров, за счет чего третья часть тепла передается в поток обтекающего печь воздушного потока. Поэтому, если обложить печь в бане руками по всем правилам, количество выдаваемого тепла не уменьшится, но наружная кирпичная поверхность будет значительно холоднее железной;
- Ровная плоская поверхность обкладки из кирпича, как и гладкая железная стенка, обладает концентрирующим эффектом, поэтому вместо хаотичного рассеивания лучистое тепло легко достигает самых удаленных уголков парилки бани.
Совет! Если после обкладки железной печи кирпичом вдруг обнаружится, что от излучения железной печи слишком удаленные части помещения прогреваются слабо, в этом случае наружную поверхность экрана из кирпича можно облицевать термостойкой кафельной плиткой.
Любая гладкая плоскость, неважно, будет ли это металл или полированный малахит, который используют в качестве облицовки и обкладки для дорогущих чугунных конструкций, выдает основную часть тепла в виде излучения. Поэтому железные стенки не сильно прогретой печи быстро высушивают пол и делают воздух слишком горячим для дыхания. Даже на расстоянии в метр-полтора излучаемое тепло печи, не оборудованной экраном из кирпича, сильно обжигает ноги, руки и лицо.
Конструкция обкладки железной печи
Вес стальной или чугунной печи редко превышает 80-90 кг, еще от 40 до 100 кг может давать засыпка каменки. Без обкладки из кирпича конструкцию печи можно свободно устанавливать на жаростойкий прочный поддон без опасения повредить лаги или доски деревянного пола.
Для того чтобы выполнить обкладку железной печи, нужно в первую очередь определиться с основными параметрами конструкции:
- Габариты и ширина обкладки. Экранирующую стенку печи можно выложить в полкирпича, или в четверть полуторного блока. В первом случае толщина обкладки составляет 12 см, во втором всего 8,8 см;
- Величину зазора между стенкой обкладки и железным корпусом печи. В зависимости от заложенного в конструкцию параметра щели получается «холодный» или «горячий» экран из кирпича;
- Выбрать способ усиления основания. Уложить обкладку непосредственно на пол парилки нельзя, по соображениям прочности деревянного основания и требованиям правил пожарной безопасности.
В первых двух рядах обкладки выполняют специальные воздухозаборные окна, через которые более холодный воздух у пола за счет теплового подсоса попадает в зазор между железной стенкой печи и кирпичным экраном, нагревается и выбрасывается через верхний слой каменки под потолок парилки. Таким образом, исключается перегрев кирпича обкладки, и одновременно обеспечивается хорошая теплоотдача печи.
Но не следует злоупотреблять количеством окон, достаточно выполнить по одному окну в нижнем ярусе обкладки и по одному в срединной части кладки для улучшения работы каменки. Чтобы улучшить отбор тепла, от нижних рядов камня в каменку устанавливают дополнительные стальные трубы — «паровозы».
Если плеснуть кипятку в трубу, то каменка практически «взрывается» огромным количеством горячего пара за счет резкого испарения воды и раскаленного воздуха, идущего через зазор между кирпичной обкладкой и железной стеной печи.
Важно! Практика показывает, что, если правильно обкладывать металлическую печь в бане, время прогрева помещения практически не меняется.
В случае если для парилки выбрано угловое расположение, железную печь наглухо экранируют со стороны стен. Для нормального обдува закрытых в углу кирпичей оставляют санитарный зазор в 100-120 мм, окон для пара и забора воздуха с этой стороны обкладки не делают.

